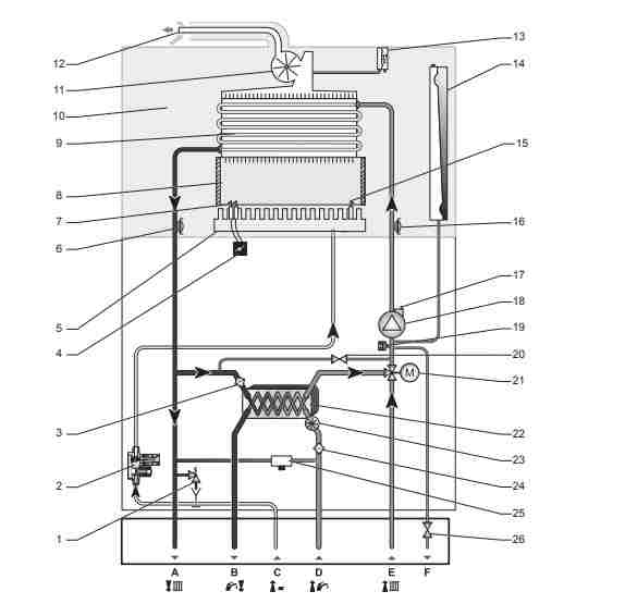
ciasco Inserito: 22 marzo 2023 Segnala Inserito: 22 marzo 2023 (modificato) Buongiorno, come da titolo ho un problema con una micra 24 SE a/1, in qualsiasi rubinetto richiedo acqua calda la caldaia parte correttamente e l'acqua calda arriva correttamente, ma dopo un minuto arriva man mano piu fredda, fino a tornare calda e via di nuovo. La caldaia non presenta errori, ma mi sono accorto che l'indicatore di pressione cala piano piano fino a fermare la fiamma della caldaia, come si vede dal video allegato: Ho controllato anche i codici di funzionamento, passa da "richiesta acqua sanitaria" - "accensione caldaia" - "bruciatore acceso" - "richiesta acqua sanitaria" - ... in loop Allego anche schema caldaia, Grazie a chi mi saprà aiutare Modificato: 22 marzo 2023 da ciasco
vincenzo barberio Inserita: 22 marzo 2023 Segnala Inserita: 22 marzo 2023 (modificato) Ciao Potrebbe dipendere dallo scambiatore sanitario (posiz. 22) incrostato in uno od entrambi i lati. Ti sarebbe possibile allegare un video in cui viene mostrato il display della caldaia a riposo e "fredda" e quindi durante un prelievo di acqua calda? Modificato: 22 marzo 2023 da vincenzo barberio
ciasco Inserita: 22 marzo 2023 Autore Segnala Inserita: 22 marzo 2023 2 ore fa, vincenzo barberio ha scritto: Ciao Potrebbe dipendere dallo scambiatore sanitario (posiz. 22) incrostato in uno od entrambi i lati. Ti sarebbe possibile allegare un video in cui viene mostrato il display della caldaia a riposo e "fredda" e quindi durante un prelievo di acqua calda? grazie Vincenzo per la risposta, domani con la luce faccio il video come richiesto, ma nel frattempo stasera ho smontato lo scambiatore sanitario, non era eccessivamente sporco, nel lato riscaldamento aveva delle incrostazioni nere e anche l'acqua che usciva era colore scuro, ora l'ho rimontato e al primo tentativo ha dato lo stesso problema, ho fatto di nuovo un tentativo dopo aver tolto un po' di aria dal circuito riscaldamento e pare che sia constante nella mandata, ma la prova del nove la facciamo domani con le doccie 🚿 intanto grazie ancora
vincenzo barberio Inserita: 22 marzo 2023 Segnala Inserita: 22 marzo 2023 Forse andrebbe verificato anche il filtro (posizione 3).
ciasco Inserita: 23 marzo 2023 Autore Segnala Inserita: 23 marzo 2023 10 ore fa, vincenzo barberio ha scritto: Forse andrebbe verificato anche il filtro (posizione 3). si, con l'occasione ho pulito anche il filtro riscaldamento. Comunque con l'occasione ho smontato anche la camera stagna per pulire esternamente lo scambiatore primario, che era stato pulito dalla ditta a novembre, aveva le lamelle di rame tutte piegate, segno che quelli che sono venuti a fare manutenzione non sono stati tanto delicati...
Messaggi consigliati
Crea un account o accedi per commentare
Devi essere un utente per poter lasciare un commento
Crea un account
Registrati per un nuovo account nella nostra comunità. è facile!
Registra un nuovo accountAccedi
Hai già un account? Accedi qui.
Accedi ora