Vai al contenuto

Messaggi consigliati

Inserita:

Grazie Stefano, allora mi consigli di lasciare la situazione come sta adesso? Magari usandolo si sblocca ulteriormente vista la lunga inattività dello scaldabagno in questione? 

Stefano Dalmo
Inserita: (modificato)

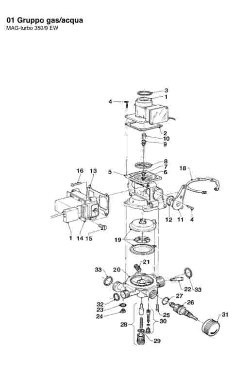
Questo è l’esploso del tuo scaldino , 

in riferimento al modello che hai postato .

mi avevi detto che ha solitamente una regolazione. ,ma io ne vedo due   , come avevo prospettato , una del gas 11 e una  26  selettore temperatura  , che altro non è che un regolatore di portata ,  e io mi riferivo a questo  , girato tutto a caldo  . 
se guardi bene il gruppo acqua è molto complesso , e tutto  lavora per far alzare il piattello ,  il 22 sarebbe il venturi  . Il 21. - 28.  E tutti gli altri componenti  devono rispondere in contemporanea , per cui   , io non posso sapere in che condizioni si trovano i componenti interni .
smontali e vedi se sono incrostati o tappati o le molle   Sono incrostate . 
insomma , vedi tu , io più di questo non posso aiutarti . IMG_8258.thumb.jpeg.ef2fc2feb4445dc996f6f4cd27cb8242.jpegIMG_8259.thumb.jpeg.4b355dfcaff8a1f7a3099a11673184f9.jpeg

Modificato: da Stefano Dalmo
Inserita:

Stefano già hai fatto abbastanza. Il gruppo acqua io lo avevo smontato completamente e non c'era ne calcare ne ostruzioni. L'unico punto in cui avevo trovato del calcare era sull'astina del piattello. Per questo motivo ho sostituito la membrana ed il piattello kit19 in figura. Come regolazione io intendevo da manopola esterna e per questo dicevo che c'era solo una. La regolazione del gas non l'ho toccata. 

Controllerò nuovamente il gruppo acqua in quelle parti che mi hai suggerito visto che non necessita l'intero smontaggio e se noto qualche miglioramento vi faccio sapere. 

Grazie nuovamente Stefano. 

 

Crea un account o accedi per commentare

Devi essere un utente per poter lasciare un commento

Crea un account

Registrati per un nuovo account nella nostra comunità. è facile!

Registra un nuovo account

Accedi

Hai già un account? Accedi qui.

Accedi ora
×
×
  • Crea nuovo/a...